Qui troverai tutte le parti e i disegni disponibili di “Milwaukee 4000443346 ( K500ST )”. Da qui puoi ordinare direttamente tutte le parti desiderate. Molte parti devono essere ordinate dal produttore, a seconda della marca, ciò richiede da una a quattro settimane. Tutte le informazioni che abbiamo sono sul nostro sito web, non possiamo consigliarti su ciò di cui hai bisogno, per questo dovrai restituire la macchina per la riparazione. Nota quanto segue al momento dell’ordinazione:
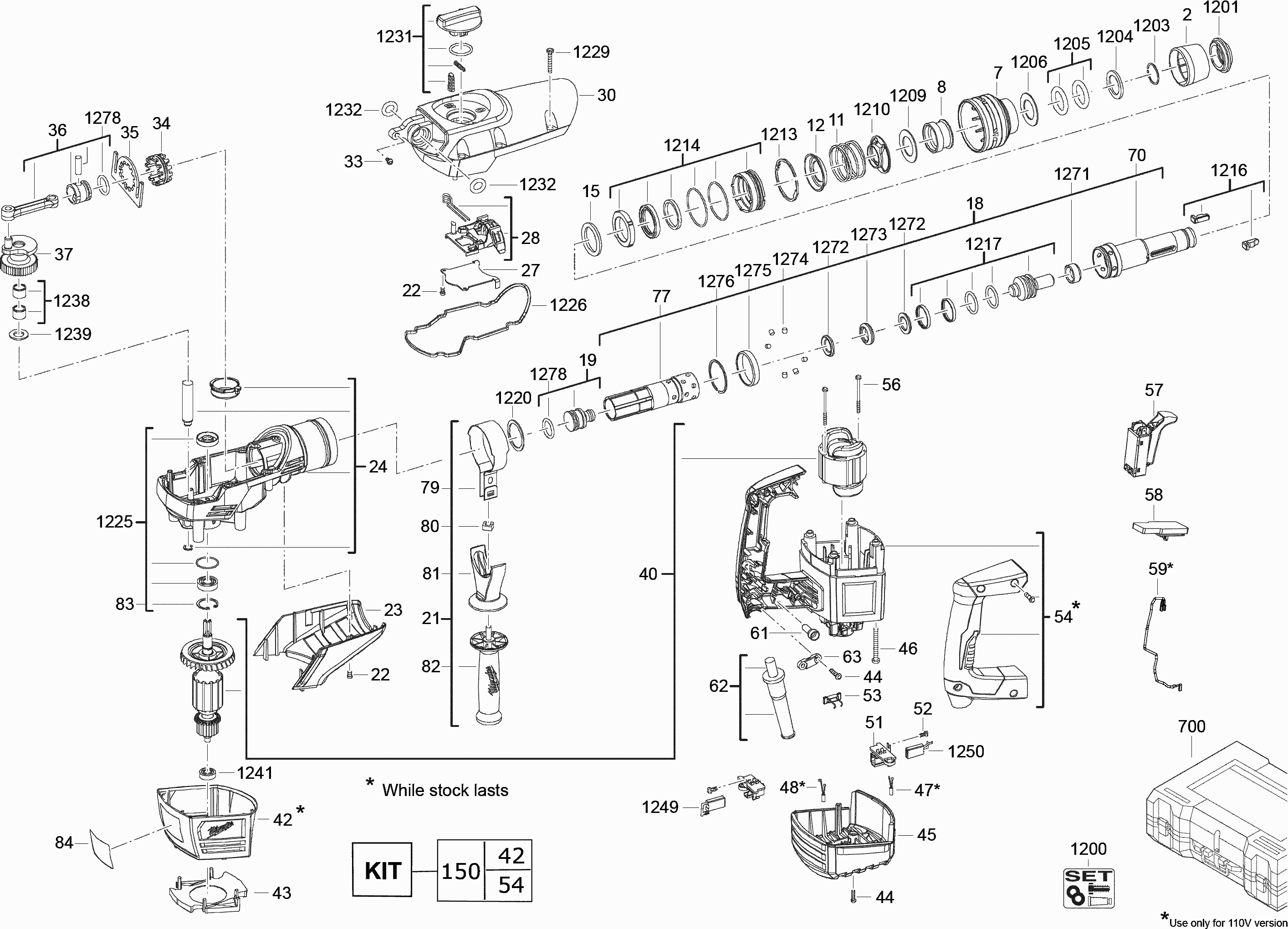
Disegni tecnici di Milwaukee 4000443346 ( K500ST )
Elenco parti di Milwaukee 4000443346 ( K500ST )
| Pos. | Descrizione | Prezzo IVA escl | Prezzo IVA incl | |
| I prezzi indicati sono comprensivi di IVA | ||||
| CAPPELLO | ||||
| 0002 | 4931435133 | 1.80 | 2.20 | |
| Collare | ||||
| 0007 | 4931435138 | 3.60 | 4.39 | |
| FASCETTA DI INTERBLOCCO | ||||
| 0008 | 4931435139 | 19.01 | 23.19 | |
| Molla, acciaio non arrugginito | ||||
| 0011 | 4931435140 | 1.80 | 2.20 | |
| Piastra | ||||
| 0012 | 633152001 | 4.49 | 5.48 | |
| Anello O | ||||
| 0015 | 4931435143 | 5.40 | 6.59 | |
| MANICOTTO DEL MANDRINO | ||||
| 0018 | 4931435146 | 207.50 | 253.15 | |
| CAVATAPO DOEPPEL | ||||
| 0019 | 4931435147 | 41.18 | 50.24 | |
| Non più disponibile, nessuna sostituzione | ||||
| 0021 | 4931435149 | |||
| Vite | ||||
| 0022 | 4931435150 | 1.90 | 2.32 | |
| RITENUTORE | ||||
| 0023 | 4931435151 | 4.49 | 5.48 | |
| KIT INGRANAGGI/TRONCATRICE AD ANGOLI | ||||
| 0024 | 4931435928 | 87.12 | 106.29 | |
| Piastra | ||||
| 0027 | 4931435930 | 4.49 | 5.48 | |
| FORCHETTA | ||||
| 0028 | 4931440524 | 8.09 | 9.87 | |
| CUSTODIA | ||||
| 0030 | 4931435931 | 38.02 | 46.38 | |
| Non più disponibile, nessuna sostituzione | ||||
| 0033 | 4931435162 | |||
| Manicotto/acciaio inossidabile/strumento elettrico | ||||
| 0034 | 4931435164 | 9.00 | 10.98 | |
| PIASTRA DI INTERBLOCCO | ||||
| 0035 | 4931435165 | 4.49 | 5.48 | |
| PISTONE E CONROD ASSY | ||||
| 0036 | 4931435166 | 20.59 | 25.12 | |
| Camme LEX 3 125/3 | ||||
| 0037 | 4931435167 | 49.10 | 59.90 | |
| ASSEMBLAGGIO DEL MOTORE | ||||
| 0040 | 4931435194 | 118.80 | 144.94 | |
| CASSETTA INGRANAGGI PER PRESSIONE CARTUCCIA | ||||
| 0042 | 4931435933 | 7.20 | 8.78 | |
| ANELLO DI DEFLETTORI D'ARIA | ||||
| 0043 | 4931435174 | 1.90 | 2.32 | |
| Vite | ||||
| 0044 | 660024018 | 1.80 | 2.20 | |
| Copertura Del Motore (1) | ||||
| 0045 | 4931435175 | 6.31 | 7.70 | |
| Vite | ||||
| 0046 | 4931435176 | 1.80 | 2.20 | |
| Nessuna informazione disponibile, non ordinabile | ||||
| 0047 | 4931433382 | |||
| BOBINA DI SOFFOCAMENTO | ||||
| 0048 | 4931433381 | 8.09 | 9.87 | |
| ANELLO DI GUIDA PER CAVO DI CAMPO | ||||
| 0053 | 4931435182 | 9.00 | 10.98 | |
| Non più disponibile, nessuna sostituzione | ||||
| 0054 | 4931435934 | |||
| Nessuna informazione disponibile, non ordinabile | ||||
| 0056 | 4931435183 | |||
| INTERRUTTORE | ||||
| 0057 | 4931435935 | 20.59 | 25.12 | |
| Elettronica | ||||
| 0058 | 4931435186 | 50.69 | 61.84 | |
| Nessuna informazione disponibile, non ordinabile | ||||
| 0059 | 4931435936 | |||
| Connettore A Spina | ||||
| 0061 | 790009001 | 4.49 | 5.48 | |
| Nessuna informazione disponibile, non ordinabile | ||||
| 0062 | 4931435189 | |||
| PRESA DEL CORDON | ||||
| 0063 | 4931435190 | 4.49 | 5.48 | |
| GUIDA | ||||
| 0070 | 4931435195 | 91.87 | 112.08 | |
| MANICOTTO DEL MANDRINO | ||||
| 0077 | 4931435202 | 57.02 | 69.56 | |
| Morsetto Esterno | ||||
| 0079 | 4931435204 | 6.31 | 7.70 | |
| Dado (1) | ||||
| 0080 | 4931435205 | 4.49 | 5.48 | |
| MANICO | ||||
| 0081 | 4931435206 | 5.40 | 6.59 | |
| MANICO | ||||
| 0082 | 4931435207 | 10.80 | 13.18 | |
| RONDELLA DI PROTEZIONE | ||||
| 0083 | 4931435192 | 1.90 | 2.32 | |
| Non più disponibile, nessuna sostituzione | ||||
| 0084 | 4931435938 | |||
| Set di servizio | ||||
| 0150 | 4931494483 | 39.27 | 47.91 | |
| CUSTODIA DA TRASPORTO | ||||
| 0700 | 4931435211 | 58.61 | 71.50 | |
| Kit di manutenzione | ||||
| 1200 | 4931446720 | 232.85 | 284.08 | |
| Cappuccio di gomma | ||||
| 1201 | 4931435353 | 5.40 | 6.59 | |
| Anello di tenuta | ||||
| 1203 | 4931435134 | 1.90 | 2.32 | |
| FLANGIA DI SUPPORTO | ||||
| 1204 | 4931435135 | 5.40 | 6.59 | |
| Anello O | ||||
| 1205 | 4931435354 | 5.40 | 6.59 | |
| Rondella (1) | ||||
| 1206 | 4931435137 | 1.80 | 2.20 | |
| Rondella (1) | ||||
| 1209 | 4931431199 | 1.80 | 2.20 | |
| PIASTRA DI FISSAGGIO | ||||
| 1210 | 633234001 | 4.49 | 5.48 | |
| PIASTRA DI FISSAGGIO | ||||
| 1210 | 4931466761 | 4.42 | 5.39 | |
| RONDELLA DI PROTEZIONE | ||||
| 1213 | 4931435141 | 1.90 | 2.32 | |
| PIASTRA DI FINE CUSCINETTO | ||||
| 1214 | 4931435142 | 23.76 | 28.99 | |
| CAMMA | ||||
| 1216 | 4931435144 | 10.80 | 13.18 | |
| CORPO DI PERCUSSIONE | ||||
| 1217 | 4931435145 | 52.27 | 63.77 | |
| DISCO (ne servono 5) | ||||
| 1220 | 4931435148 | 1.80 | 2.20 | |
| CUSCINETTO E ASSEMBLAGGIO TENUTA ROTANTE | ||||
| 1225 | 4931435929 | 15.84 | 19.32 | |
| GUARNIZIONE | ||||
| 1226 | 4931435155 | 10.80 | 13.18 | |
| Vite | ||||
| 1229 | 4931435158 | 1.80 | 2.20 | |
| Collare di arresto | ||||
| 1231 | 4931435932 | 5.40 | 6.59 | |
| Non più disponibile, nessuna sostituzione | ||||
| 1232 | 4931435360 | |||
| CUSCINETTO A RULLINI | ||||
| 1238 | 4931435168 | 9.00 | 10.98 | |
| Rondella (1) | ||||
| 1239 | 4931435169 | 1.80 | 2.20 | |
| CUSCINETTO A SFERE | ||||
| 1241 | 4931435170 | 9.00 | 10.98 | |
| Non più disponibile, nessuna sostituzione | ||||
| 1249 | 4931435178 | |||
| Non più disponibile, nessuna sostituzione | ||||
| 1250 | 4931435180 | |||
| COPPIA DI PORTASPAZZOLE | ||||
| 1251 | 4931435181 | 5.40 | 6.59 | |
| RONDELLA DI ARRESTO | ||||
| 1271 | 4931435196 | 14.40 | 17.57 | |
| Rondella | ||||
| 1272 | 4931435197 | 5.40 | 6.59 | |
| Rondella | ||||
| 1273 | 4931435198 | 5.40 | 6.59 | |
| SPINA | ||||
| 1274 | 4931435199 | 1.80 | 2.20 | |
| DISCO (ne servono 5) | ||||
| 1276 | 4931435201 | 1.80 | 2.20 | |
| Anello O | ||||
| 1278 | 4931435203 | 5.40 | 6.59 | |