Qui troverai tutte le parti e i disegni disponibili di “Hikoki SF-HT”. Da qui puoi ordinare direttamente tutte le parti desiderate. Molte parti devono essere ordinate dal produttore, a seconda della marca, ciò richiede da una a quattro settimane. Tutte le informazioni che abbiamo sono sul nostro sito web, non possiamo consigliarti su ciò di cui hai bisogno, per questo dovrai restituire la macchina per la riparazione. Nota quanto segue al momento dell’ordinazione:
Disegni tecnici di Hikoki SF-HT
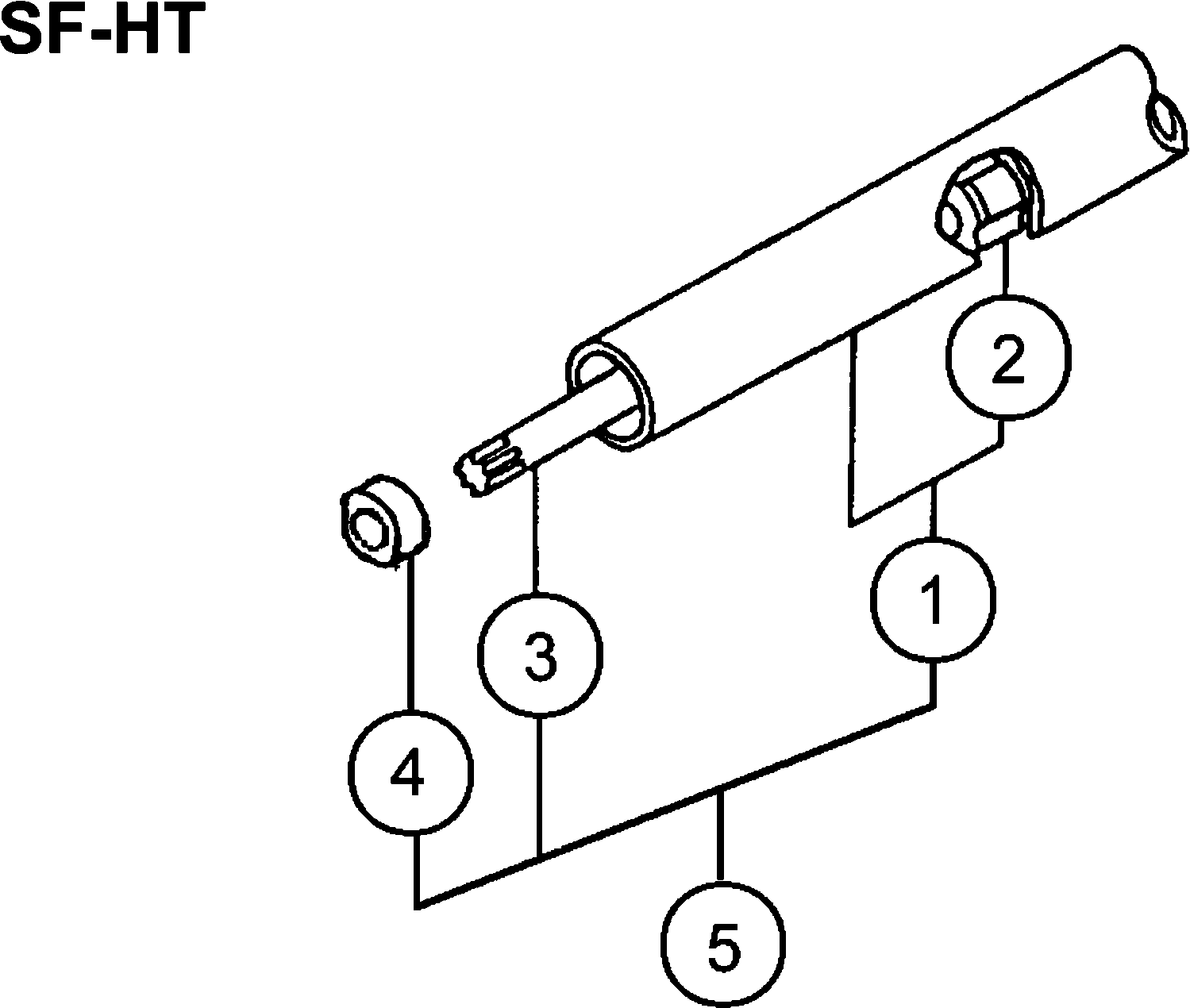
Elenco parti di Hikoki SF-HT
| Pos. | Descrizione | Prezzo IVA escl | Prezzo IVA incl | |
| I prezzi indicati sono comprensivi di IVA | ||||
| Tubo di direzione | ||||
| 1 | 6689302 | 28.14 | 34.33 | |
| Nessuna informazione disponibile, non ordinabile | ||||
| 2 | 6684831 | |||
| Albero di trasmissione B 783l (vecchio 036-38190-2 | ||||
| 3 | 6684832 | 20.73 | 25.28 | |
| Boccola (vecchio 347-38466-20) | ||||
| 4 | 6684833 | 2.15 | 2.62 | |
| Ass'y di tubo principale | ||||
| 5 | 6699692 | 30.10 | 36.72 | |
| Cassa del cambio A, 24 Dia (vecchio 300-32287-21) | ||||
| 21 | 6688653 | 30.25 | 36.90 | |
| Cuscinetto a sfere 6901ZZ/OD (vecchio 999-61690-10 | ||||
| 22 | 6695582 | 9.74 | 11.88 | |
| Anello di arresto S-12, esterno (vecchio 993-52012 | ||||
| 23 | 6695302 | 1.15 | 1.40 | |
| Anello di arresto C-24.internal (vecchio 993-51024 | ||||
| 24 | 6684732 | 2.15 | 2.62 | |
| Nessuna informazione disponibile, non ordinabile | ||||
| 25 | 6698772 | |||
| ANELLO DI ARRESTO C-22, INTERNO (VECCHIO 993-51022 | ||||
| 26 | 6695293 | 1.15 | 1.40 | |
| CAPPELLO A GRASSO COMP. (VECCHIO 300-32250-80) | ||||
| 27 | 6688643 | 1.15 | 1.40 | |
| Bullone con foro esagonale 5x10 (vecchio 990-51050 | ||||
| 28 | 6695042 | 1.15 | 1.40 | |
| Vite con foro esagonale M5x25/s (vecchio 994-16050 | ||||
| 29 | 6684709 | 2.15 | 2.62 | |
| Bullone con foro esagonale 6x12 (vecchio 990-53060 | ||||
| 30 | 6695078 | 1.15 | 1.40 | |
| Rondella | ||||
| 31 | 6684822 | 2.15 | 2.62 | |
| Cassa ingranaggi B (vecchio 301-32286-21) (vecchio | ||||
| 32 | 6695981 | 40.24 | 49.09 | |
| Nessuna informazione disponibile, non ordinabile | ||||
| 33 | 6695528 | |||
| ANELLO DI ARRESTO C-26, INTERNO (VECCHIO 993-51026 | ||||
| 34 | 6695294 | 1.15 | 1.40 | |
| Anello di arresto E-6 (vecchio 993-55060-000) | ||||
| 35 | 6695310 | 1.15 | 1.40 | |
| Coperchio del carter ingranaggi A (vecchio 327-322 | ||||
| 36 | 6689167 | 1.15 | 1.40 | |
| Vite a buco esagonale 4x8 (vecchio 990-51040-085) | ||||
| 37 | 6695035 | 1.15 | 1.40 | |
| Nessuna informazione disponibile, non ordinabile | ||||
| 38 | 6698772 | |||
| ANELLO DI ARRESTO C-22, INTERNO (VECCHIO 993-51022 | ||||
| 39 | 6695293 | 1.15 | 1.40 | |
| Manico (vecchio 210-32286-20) | ||||
| 40 | 6688089 | 4.45 | 5.43 | |
| Vite a testa rotonda con foro esagonale 6x15 (vecc | ||||
| 41 | 6695079 | 1.15 | 1.40 | |
| Guarnizione in Gomma | ||||
| 42 | 6686669 | 1.15 | 1.40 | |
| Non più disponibile, nessuna sostituzione | ||||
| 43 | 6696411 | |||
| Pulsante di maniglia A Comp. (vecchio 512-32286-80 | ||||
| 44 | 6691200 | 3.30 | 4.03 | |
| Vite Plus 6x14 (vecchio 990-23060-141) | ||||
| 45 | 6695016 | 1.15 | 1.40 | |
| Dado esagonale 6 (vecchio 6684792/991-01060-041/79 | ||||
| 46 | 6684835 | 2.15 | 2.62 | |
| Dado 6 Ups-p (vecchio 991-87060-001 & 6698766) | ||||
| 46A | 6695175 | 1.15 | 1.40 | |
| Piastra di supporto (vecchio 462-32286-20) | ||||
| 47 | 6690744 | 11.23 | 13.69 | |
| Guarnizione in Gomma | ||||
| 48 | 6686659 | 1.15 | 1.40 | |
| Rondella | ||||
| 49 | 6684639 | 2.15 | 2.62 | |
| Composizione dell'albero a camme (vecchio 100-3228 | ||||
| 61 | 6686790 | 36.15 | 44.10 | |
| Aste a camme (vecchio 101-33160-22/6686808) | ||||
| 62 | 6686809 | 5.94 | 7.24 | |
| Piastra guida asta camma (vecchia 075-32280-20) | ||||
| 63 | 6686611 | 1.15 | 1.40 | |
| Guida per taglierina 625.5mm (vecchio 122-32286-21 | ||||
| 64 | 6687125 | 24.20 | 29.52 | |
| Taglierino (vecchio 120-32287-21/6696516) | ||||
| 65 | 6687079 | 46.29 | 56.47 | |
| Bullone | ||||
| 66 | 6687158 | 1.15 | 1.40 | |
| Non più disponibile, nessuna sostituzione | ||||
| 67 | 6687187 | |||
| Dado a flangia | ||||
| 68 | 6695170 | 1.15 | 1.40 | |
| Dado a flangia | ||||
| 68A | 6695170 | 1.15 | 1.40 | |
| Vite a svasatura con foro esagonale 6x16 (vecchio | ||||
| 69 | 6695073 | 1.15 | 1.40 | |
| Guarnizione in Gomma | ||||
| 70 | 6686647 | 1.15 | 1.40 | |
| Piastra di bloccaggio della barra dell'albero a ca | ||||
| 71 | 6686826 | 1.15 | 1.40 | |
| Coperchio del carter ingranaggi B (vecchio 328-322 | ||||
| 72 | 6689172 | 16.34 | 19.93 | |
| Cuscinetto a sfere 608 Zz C3 | ||||
| 73 | 6695547 | 3.30 | 4.03 | |
| Bullone forato esagonale 4x10s (vecchio 994-61040- | ||||
| 74 | 6695484 | 1.15 | 1.40 | |
| Vite con foro esagonale M4x12/s (vecchio 994-61040 | ||||
| 75 | 6684595 | 2.15 | 2.62 | |
| Copri taglierina (vecchio 138-33168-20) | ||||
| 76 | 6687301 | 8.41 | 10.26 | |
| Non più disponibile, nessuna sostituzione | ||||
| 77 | 6687162 | |||
| Bullone a svasatura con foro esagonale 6x25 (vecch | ||||
| 78 | 6695075 | 1.15 | 1.40 | |
| Guarnizione in Gomma | ||||
| 79 | 6686666 | 1.15 | 1.40 | |
| Distanziale (vecchio 296-32286-20) | ||||
| 80 | 6688633 | 1.15 | 1.40 | |
| Dado 6 Ups-p (vecchio 991-87060-001 & 6698766) | ||||
| 81 | 6695175 | 1.15 | 1.40 | |
| Rondella | ||||
| 82 | 6684639 | 2.15 | 2.62 | |
| Marca Simbolo Sf?ht (vecchio 929-32237-20) Nuovo | ||||
| 601 | 6694706 | 2.10 | 2.56 | |