Qui troverai tutte le parti e i disegni disponibili di “Hikoki PS7-BS3”. Da qui puoi ordinare direttamente tutte le parti desiderate. Molte parti devono essere ordinate dal produttore, a seconda della marca, ciò richiede da una a quattro settimane. Tutte le informazioni che abbiamo sono sul nostro sito web, non possiamo consigliarti su ciò di cui hai bisogno, per questo dovrai restituire la macchina per la riparazione. Nota quanto segue al momento dell’ordinazione:
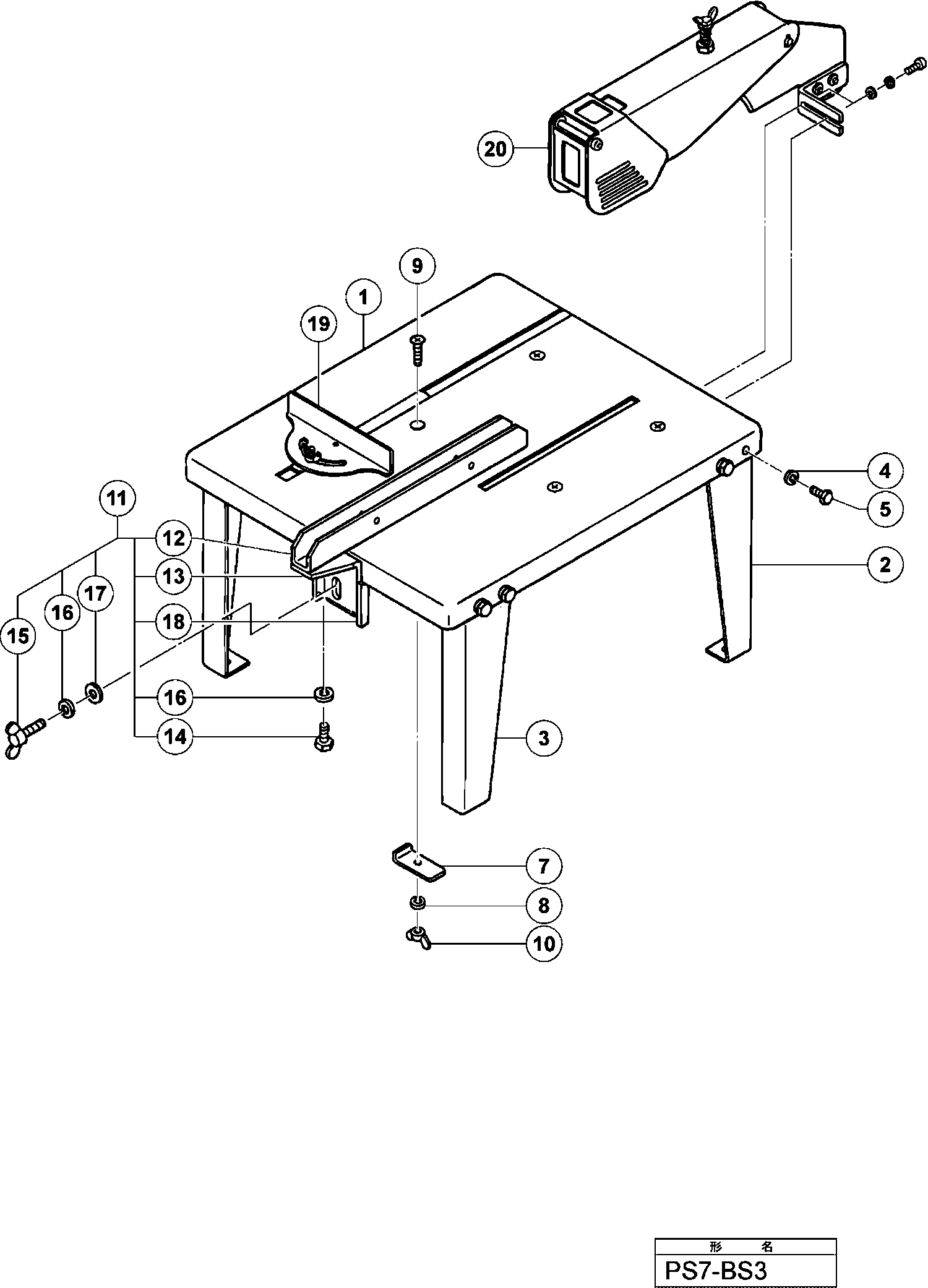
Disegni tecnici di Hikoki PS7-BS3
Elenco parti di Hikoki PS7-BS3
| Pos. | Descrizione | Prezzo IVA escl | Prezzo IVA incl | |
| I prezzi indicati sono comprensivi di IVA | ||||
| Nessuna informazione disponibile, non ordinabile | ||||
| 1 | 957672 | |||
| Nessuna informazione disponibile, non ordinabile | ||||
| 2 | 957670 | |||
| STEP (B) | ||||
| 3 | 957671 | 6.30 | 7.69 | |
| Rondella di sicurezza M8 (10 pezzi) | ||||
| 4 | 949457 | 1.05 | 1.28 | |
| BOUT M8X14 (10 STUKS) (OUD 949621Z) | ||||
| 5 | 949621 | 1.26 | 1.54 | |
| Nessuna informazione disponibile, non ordinabile | ||||
| 7 | 940894 | |||
| Rondella di molla M6 (vecchio 949455z, 10 pezzi) | ||||
| 8 | 949455 | 1.05 | 1.28 | |
| Vite Hd M6x25 (10 Pezzi) | ||||
| 9 | 949342 | 1.65 | 2.01 | |
| Dado farfalla M6 (10 pezzi) | ||||
| 10 | 949313 | 4.65 | 5.67 | |
| Nessuna informazione disponibile, non ordinabile | ||||
| 11 | 957374 | |||
| Nessuna informazione disponibile, non ordinabile | ||||
| 12 | 957375 | |||
| Nessuna informazione disponibile, non ordinabile | ||||
| 13 | 957376 | |||
| Vite M8x16 (10 pezzi) (vecchio 949622z) | ||||
| 14 | 949622 | 1.80 | 2.20 | |
| VLEUGELSCHROEF M8X25 (10 STUKS) | ||||
| 15 | 949413 | 6.54 | 7.98 | |
| Rondella di sicurezza M8 (10 pezzi) | ||||
| 16 | 949457 | 1.05 | 1.28 | |
| Rondella M8 (10 Pezzi) | ||||
| 17 | 949433 | 1.05 | 1.28 | |
| Nessuna informazione disponibile, non ordinabile | ||||
| 18 | 957377 | |||
| Nessuna informazione disponibile, non ordinabile | ||||
| 19 | 941878 | |||