Qui troverai tutte le parti e i disegni disponibili di “Bosch 3603F76000 ( PAM220 )”. Da qui puoi ordinare direttamente tutte le parti desiderate. Molte parti devono essere ordinate dal produttore, a seconda della marca, ciò richiede da una a quattro settimane. Tutte le informazioni che abbiamo sono sul nostro sito web, non possiamo consigliarti su ciò di cui hai bisogno, per questo dovrai restituire la macchina per la riparazione. Nota quanto segue al momento dell’ordinazione:
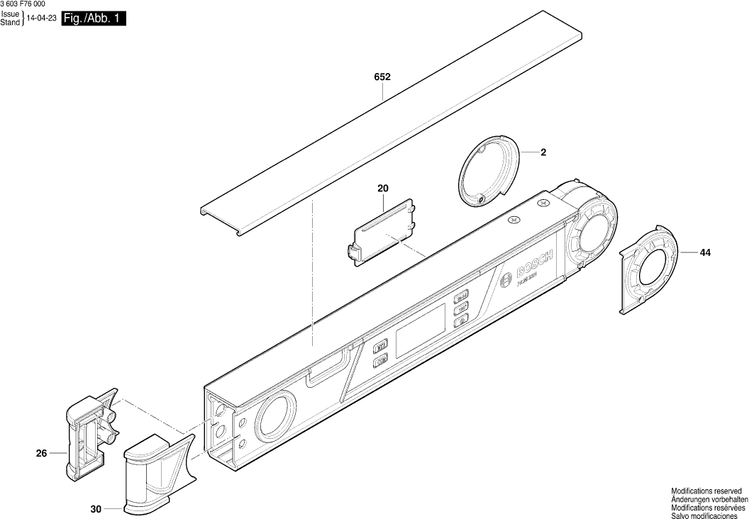
Disegni tecnici di Bosch 3603F76000 ( PAM220 )
Elenco parti di Bosch 3603F76000 ( PAM220 )
| Pos. | Descrizione | Prezzo IVA escl | Prezzo IVA incl | |
| I prezzi indicati sono comprensivi di IVA | ||||
| PIASTRA DI FERMO | ||||
| 2 | 1619PA7097 | 2.52 | 3.07 | |
| Coperchio del case della batteria | ||||
| 20 | 1619PA7115 | 1.90 | 2.32 | |
| Copertura TURBO II | ||||
| 26 | 1619PA7121 | 3.04 | 3.71 | |
| Copertura TURBO II | ||||
| 30 | 1619PA7125 | 3.04 | 3.71 | |
| Copertura TURBO II | ||||
| 44 | 1619PA7139 | 2.52 | 3.07 | |
| Binario Di Scorrimento | ||||
| 652 | 1619PA7119 | 9.47 | 11.55 | |